Комплект прямого соединения сборных шин 3-3

Код: R5BBCDIRM3M3
Код: R5BBCDIRM3M3
Тип упаковки:
Кол-во в упаковке: 12
Ед. изм: кмп
Вес, кг: 0,206
Объем, м3: 0,00021
?
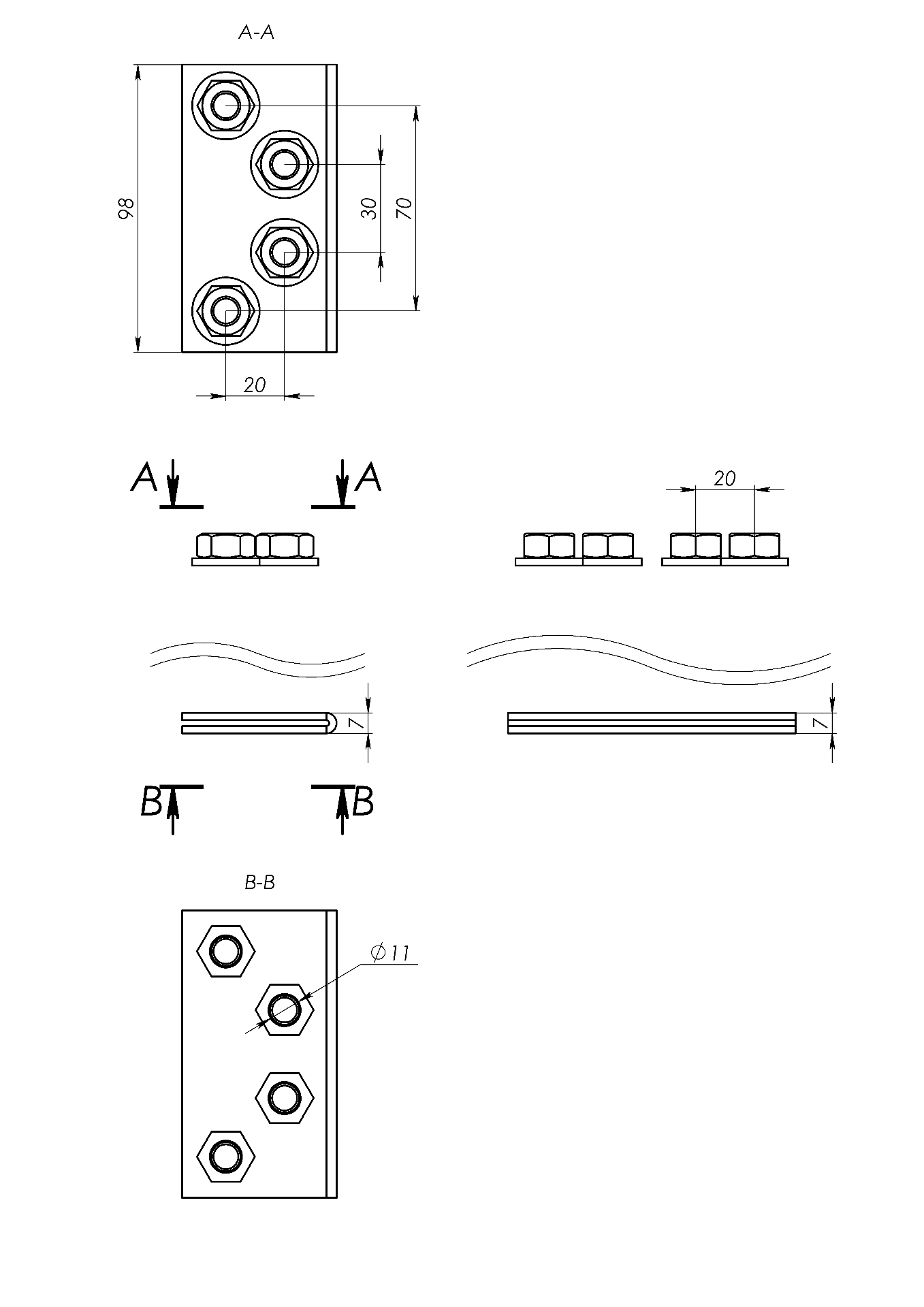
Комплект прямого соединения сборных шин 3-3. Комплект подключения совместно с болтами обеспечивает надежную фиксацию токопроводящих элементов (струбцин и накладок) в соединении шин. Применяется для соединения магистральных сборных шин.
Комплект прямого соединения сборных шин 3-3. Комплект подключения совместно с болтами обеспечивает надежную фиксацию токопроводящих элементов (струбцин и накладок) в соединении шин. Применяется для соединения магистральных сборных шин.
Модель/исполнение Комплект для монтажа
Тип компонента/запасной части Монтажная пластина/плата
Диаметр устанавливаемого болта 10 мм