Metalware set bus clamp connectors assembly, l=100mm

Code: R5BBCMWK100
Code: R5BBCMWK100
  • To ask a question
Surface protection Galvanic/electrolytic zinc plated
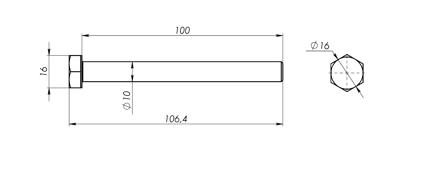
Wrench width, mm 17
Material quality 8.8 (steel)
Length, mm 100
Thread type M
Material Steel
Thread size (metric) 10
Pitch thread, mm 1.5
With nut No
With washer No
Full thread Yes
Bolt head Hexagonal